疫情防控下半场,这10个城市要注意!
2020年02月04日
18096
如果说疫情防控的上半场在于武汉和湖北,那么,随着返程到来,人口流入的一二线城市即将成为重点所在。毕竟,复工返程都可以延迟,但这些人终究还是要回到自己的工作所在地。返程高峰总会到来,一些中心城市必须开始直面疫情防控的下半场,哪些城市将会首当其冲?显然,历年春节“空城”的城市,正是返程人流的重点所在。众所周知,疫情集中防控始于除夕前夕。当时,除了武汉之外,春运大迁徙的步伐和往年基本上没有二致,大量外来人口早已从一二线回到家乡,这些人将成为返程客流的主要来源。根据百度地图联合交通部科学研究院发布的报告,2020年春节“空城”指数最高的十大城市,分别是:深圳、上海、北京、东莞、广州、苏州、成都、佛山、杭州、郑州。在这十大城市中,有四个城市位于珠三角,分别是深圳、东莞、广州、佛山;有三个城市位于长三角,分别是上海、苏州、杭州。京津冀区域仅有北京一城,中部区域仅有郑州一城,西部区域仅有成都一城。位列“空城排行榜”的这些城市,无一不是人口持续流入的地区,无一不是常住人口占比较大的城市。这其中,深圳外来人口占比高达65%,苏州占比超过50%,杭州、佛山、东莞、上海超过40%,北京、广州则超过35%。随着春运即将步入尾声,返程即便不会再出现往年那样的高峰,但回到工作所在地,毕竟是大势所趋。02
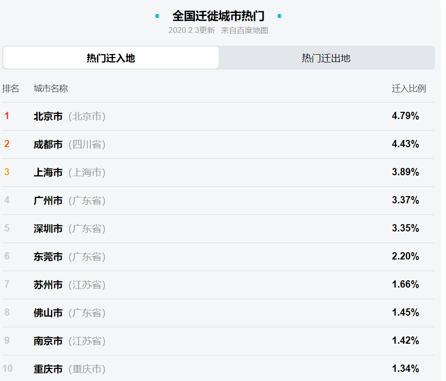
如果空城指数过于宏观,那么从最近几天的人口迁徙地图,更容易看清目前的人口流动趋势。不难看出,北上广深四个一线城市,以及成都杭州南京郑州等省会城市,均是迁入重点所在。以2月3日为例,全国十大热门迁徙地分别为:北京、成都、上海、广州、深圳、东莞、苏州、佛山、南京和重庆。成都之所以位列前列,在于成都多是省内人口迁徙,而北上广深多是省际之间的人口迁移。在目前的疫情防控形势下,省际之间的迁徙相比省内的人口迁徙,存在更多限制因素,管控更为严格。北京的外来人口,主要集中于北方地区,以山东、河南和东北地区为主。
上海的外来人口则集中于长三角及周边地区,以江苏、浙江、江西、安徽、河南为主。以珠三角整体来看,外来人口主要以湖南、广西、四川、江西、湖北为主。这些外来人口,主要来源于泛珠三角地区的南方省份,其中与广东相邻的湖南、广西两省占比都高达20%以上。

显然,在疫情尚未明显遏制之前,湖北的人口迁徙基本处于停滞状态,但其他地区的人口迁移势必还要继续。疫情仍在持续,除湖北省之外,全国多个省份确诊案例仍在持续增加。在湖北之外,确诊病例较多的城市包括:温州、重庆、深圳、广州、北京、上海、长沙、杭州、南昌、台州、信阳、宁波、成都、郑州等。这其中,温州、台州虽然不是传统意义上的人口迁徙重镇,但这两地的商人遍布全国各地,信阳南阳则与湖北相邻。而北京、上海、广州、深圳、杭州、长沙、成都、郑州则均为人口迁徙的重镇。
毫无疑问,这些城市,将会成为抗疫下半场的关键所在。这是一场全国性的“战疫”,没有一个城市能够置身事外。没有一个冬天不能逾越,期待春暖花开之时。
赞
赞
已有910人赞
热点推荐