赞

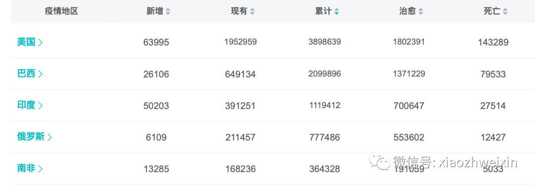
美国无疑是全球疫情传播中心的中心,同时也是美洲疫情传播的中心。美国目前感染已超过380万人。从美国向北美传到加拿大(感染超过10万人),向南美传到墨西哥(感染超过34万人),再到哥伦比亚(感染超过19万人),再到巴西(感染超过200万人)、秘鲁(感染超过35万人)、智利(感染超过35万人)、阿根廷(感染超过12万人),整个美洲大陆的几个大国已经无一幸免,全都成了重灾区。

印度是南亚疫情的传播中心,目前感染已超过110万人。紧邻印度的巴基斯坦(感染超过26万人)、孟加拉(感染超过20万人)等国也同样难以幸免。
南非是非洲大陆的传播中心,目前感染已超过36万人。尽管目前非洲只有南非最严重,其他国家尚未出现感染超过10万的重灾区,但从非洲大陆的抗疫能力看,估计一系列重灾区出现只是时间问题。
俄罗斯是东欧和中亚的传播中心,目前感染已超过77万人。其西南部的中亚五国夹在俄罗斯、伊朗(感染超过27万人)和巴基斯坦之间,估计难以幸免。吉尔吉斯斯坦已经出现日新增感染超过1.1万人的规模,无疑成了重灾区。俄罗斯和吉尔吉斯斯坦都紧邻中国新疆,这或许正是新疆目前抗疫形势异常严峻的原因所在。

为什么是这美、巴、印、俄和南非五国成为了当前全球疫情爆发和传播的中心,他们有什么共同特点没有?
仔细琢磨,我们似乎还就能找到一些共性。
“金砖五国”分别是中国、俄罗斯、印度、巴西、南非,是所谓新兴经济体的代表。中国是最早发现疫情的地方,尽管最早发现并不意味是病毒源头,但说是最早的疫情中心之一似乎并不为过。
目前疫情最严重的五大中心分别是美国、巴西、印度、俄罗斯、南非。除美国是全球最发达国家外,其余四大疫情中心全是所谓新兴经济体的典型代表,是所谓“金砖五国”的成员。很令人吃惊的是,所谓“金砖五国”成员中除中国较早控制住了疫情外,其余四国全是目前各地区疫情的中心。
如果说病毒真长了眼睛,为什么专门针对新兴经济体和所谓“金砖五国”而来?这是一个值得关注和探究的问题。
美国、巴西、印度是全球疫情前三甲,这三国全是联邦制国家。
第四名俄罗斯是邦联制,第五名的南非虽是名义上的共和国,但实际上仍然是地方享有高度自治权的联邦政治实体。
在南非共和国诞生前,南非也一直是由开普省、德兰士瓦省、纳塔尔省和奥兰治自由邦组合而成的南非联邦。时至今日,南非仍然有三个首都,分别是行政首都(中央政府所在地)茨瓦内,立法首都(议会所在地)开普敦,司法首都(最高法院所在地)布隆方丹。南非实际上仍然是相当程度上的联邦政体。
为什么疫情最严重的五大中心全是联邦或邦联制国家呢?这是又一个值得探究的问题。
美国是基督教国家,其基督教人口占总人口达到了76%以上。其中48%的人口信仰新教,28%的人口信仰天主教。
巴西也是基督教国家,其基督教人口占总人口86%以上,其中64.6%的人口信天主教,22.2%的人口信新教。
南非也是基督教国家,其基督教人口占总人口达80%,其中49%信天主教,21%信新教。
俄罗斯也是基督教国家,其基督教人口约占总人口52%,其中50%信东正教,1%信新教,1%信天主教。此外还有5%的人口信伊斯教。
印度是印度教国家,82%的人信仰印度教。此外还有12%的人信仰伊斯兰教,2.3%的人信锡克教,2%的人信基督教,0.77%的人信佛教,0.44%的人信拜火教。
目前的五大疫情中心有四个是基督教国家,一个是印度教国家。信仰宗教的人口占人口总数六成以上的,我们称这为强宗教国家。
与此形成鲜明对比的是,全球抗疫最成功的东亚国家是儒教文化圈,但并非强儒教国家,包括中国、日本、韩国和新加坡。宗教信仰尤其强宗教信仰与抗击疫情的表现有什么关联没有?这也是一个值得探究的问题。
除美国是老牌民主国家外,印度、巴西、俄罗斯、南非全是新兴民主国家。
印度在二战后独立并实行民主政治。尽管印度依然是一个种姓国家,存在严重的种族歧视和性别歧视,也存在严重的宗教冲突,但至少在形式上是一个三权分立的民主体制。
巴西在1989年由军政府还政于民,实行民主政治。
俄罗斯联邦在1993年正式立宪实行民主政治。
南非在1994年正式立宪实行民主政治。
老牌民主国家的抗疫普遍都不好,包括美国,也包括欧洲的英国、意大利、西班牙等,但新兴民主国家似乎更糟糕。这是为什么,也是值得探究的问题。
五大疫情中心除俄罗斯外,几乎全是紧跟着美国有样学样的哈巴狗。
巴西最明显。巴西总统不仅在抗疫政策上跟着川普有样学样,连美国用什么药,讲什么话,如何误导民众不带口罩和反对“居家令”等等方面,几乎全都是跟着美国亦步亦趋。咱普说抗疫“神药”羟氯喹好,巴西总统说好,我马上给我老妈送点。后果大家都看到了,巴西总统目前是全球第二个感染病毒的国家领导人(第一个是英国首相),他老妈是否被传染,目前还不知道。
巴西的抗疫成就自然也紧跟美国,表现得一样地伟大和优秀。美国经济全球第一,巴西学不到,但美国疫情全球第一,巴西终于能学到了全球第二,也算是很不容易。
印度在抗疫问题上也是对美国亦步亦趋,尤其在使用抗疫“神药”羟氯喹方面高度一致。不管科学家们如何证明此药无效,但美、印、巴三国均视此药为救命神药。当然,印度还有更神的神药,比如牛尿和牛粪,这个美国和巴西好像学不来。
南非也是少有在抗疫问题上紧跟美国步伐有样学样的典型。川普政府说美国是全球抗疫做得最好的国家,也是全球抗疫的领导者,公开承认这一点的,似乎只有南非,因为南非领导人也公开这样讲了。
俄罗斯是一个比较封闭的国家,其抗疫到底学谁,或者是谁也不学,有自己的一套,我们不得而知。从目前情况看,俄罗斯至少接收了来自中国的大批抗疫物资援助是肯定的。川普想讨好普京,说可以援助呼吸机,普京当然知道这是做秀,他应该是当笑话听的。事实上,俄罗斯再不济,在组织动员和救死扶伤的态度和能力上怎么也不至于像美国这么不堪的。
跟着美国有样学样的还有加拿大和澳大利亚,加拿大也是重灾区,感染人数超过了11万,澳大利亚目前还好,不知后面表现如何。
疫情是个新事物,出现了许多新、奇、特的现象。如何理解,需要全人类的共同研究,当然主要是相关领域的专家学者们要进行专业研究。我们是外行,只看表象,然后胡思乱想,试图寻找背后的因果逻辑。我列举的几点共性有没有道理,仁者见仁,智者见智去吧。
赞
赞




