赞
本文在撰写过程中,得到荣恒先生提供的大量历史数据和观点启发,在此深表感谢!
本文颠覆性的核心观点、突破和全新视角:
商丘是中华文化之母,也是中华文化的祖母。没有充分研究商丘的人,没有资格说自己真懂中华文化。
自古天下名人过半出自河南;自古河南名人过半出自商丘。
商人、商品、商业......这些名称前面的“商”字就来自商丘。中华文明不仅是一个重农主义社会,只有理解了商丘才会明白:中华文明自古就是一个重商主义社会,只是性质与西方的重商主义有显著区别。鸡犬之声相闻,老死不相往来的小农经济社会是不可能产生如此辉煌的中华文明的。商业不仅是财富之源,也是不同文化汇集和重新创造的最重要社会机制。
商丘作为二王三恪制度集中体现,在弹丸之地却汇集承袭前朝历代文化血脉,这也使他一再成为集中华文化之大成的中心。
百家争鸣是商文化的第一次复兴,百家争鸣中各家的中心地带距离商丘不超过200公里,核心人物绝大多数都出自商丘或其后代。缔造当今中华传统文化框架和肌体的这场文化大创新,几可称之为“商丘论坛”。儒家、墨家、道家、法家、兵家,皆为“商家”。不是直接出自商丘的,也是主要出自原商朝都城安阳附近,还是“商家”。 秦汉唐是商文化的第二次复兴,宋朝是商文化的第三次复兴。要想最深刻理解当代中华文明复兴的真正奥秘,其钥匙无疑也在商丘。 解开中华文化可持续发展奥秘的钥匙在商丘。
要完全理解毛泽东带领的中国共产党为什么能够战胜国民党的最大奥秘,钥匙在商丘。
什么是家国情怀,民族大义?商丘的历史会给出最经典的答案。
中华文化能够引领未来世界的社会奥秘在商丘。
人类前两次全球化的奥秘在商丘,引领未来第五次全球化的奥秘也在商丘。
......
证明以上观点的并不是什么新发现的历史证据,而几乎全都是中外学术界一致公认的铁证。但为什么人们之前没有认识到这些颠覆性的事实和观点,认识不到商丘如此之重要的核心地位?原因不仅在于当前的历史学科研究视角存在的很多不科学性和误区,也因为几千年来,商丘一直是“功成不必在我”。“上善若水。水善利万物而不争”,但正因如此,“夫唯不争,故天下莫能与之争”。
本系列文章很长,有4万多字。我们将分期分批发表,本文是第二篇。后续正式发表时目录可能有修改,以正式发表时为准。
目录
二、商丘作为中华文化之母的核心历史证据
1. 商丘——中华文化的祖母
商丘不仅是中华文化之母,她也是中华文化的祖母——商朝文化发源地。
商丘是商文化的发源地,不仅商汤的出生地是在商丘,商汤推翻夏朝后,最初建立的都城亳都也是在商丘。亳为帝喾的都城。商汤是由商丘(今商丘古城)迁都于亳(商丘谷熟镇)。这个亳都的“亳”字在现今地名中还留有痕迹,就是现在安徽的亳州(紧邻现今商丘市),当年叫谯城,那时不仅是属于商丘范围的,而且还是当时商朝的陪都。后来商朝都城频繁地多次迁移,最后是建都在殷墟(今河南安阳)。中间著名商朝都城有郑州商代遗址等。商朝对中华文化的影响极为巨大和深远。以往国外只承认中华文化起源于商朝,虽然有当时国外学者的各种偏见,以及考古证据的不足,但另一方面,也说明商朝作为中华文化发展过程中极为关键的一个节点,在中外学者中是一致公认的。
如果要追溯更早,属于中华文化的文献记载比较多地以传说(本文凡称“传说”“相传”“据传”的都不作为本文观点的直接证据,仅作参考。全文同)形式体现。作为中华始祖三皇五帝里的三皇,说法有很多,有燧人氏、伏羲、有巢氏、女娲、神农(炎帝)、黄帝等。其中:
燧人氏,出生于商丘。伏羲,传说是燧人氏之子,相传其母华胥(女娲)在雷泽(今商丘以北不到100公里的山东省菏泽市),踩了巨大的脚印而有孕。怀孕12年后在成纪(今甘肃天水市)出生。有巢氏,传说是燧人氏的父亲。这几个之中的出生地相对只有燧人氏出生于商丘记载比较确定,其他出生地都语焉不详。当然,因为这段历史的记载都是更接近神话传说方式,所以很难与考古证据直接来进行比对验证。所谓有巢氏、燧人氏、女娲、伏羲之间传说的爷、父、母、孙的关系,还有传说伏羲与女娲即是血亲又是夫妻。这些传说明显地不像是历史事实的真实人物,而更像是代表某一个部族,或者是用某个典型的人来代表某个部族。

自商朝建立以后的历史文献记载,与当前考古证据之间的一致性是相对比较好的。而商朝之前的历史记载与考古证据之间的一致性不是太完美。甚至因其传说性质,很多记载显然不是真实的历史事实。例如“踩了巨大的脚印而有孕,怀孕12年后出生”这样的记载显然与科学常识相违背。

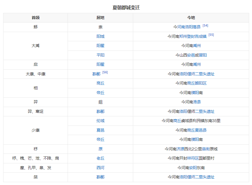
根据1996年启动,国家“九五”科技攻关重点项目的“夏商周断代工程”,2001年正式提出的中华文明探源工程(全称是“中华文明起源与早期发展综合研究),在历史学界的长期努力和持续的考古新发现证据支持下,目前已经基本确定夏朝的历史发展脉络。从上图夏朝各个首领时期及其都城变迁过程可见,夏朝有几个特点:
首先是都城变迁非常频繁,甚至相同的首领(大禹和少康)任内都有3个不同的都城。
第二是夏朝的都城基本都在现今河南省境内。大禹任内有三个不同的都城,只有其最后所在的都城平阳是现今山西省境内的安邑或晋阳,除此之外大禹任内及其他首领任内的都城全在河南境内。
第三是相和少康两任首领三个不同的都城在现商丘市境内,分别为相的都城所在的商丘(现商丘市睢阳区),少康时期的前两个都城,纶城(现商丘虞城县利民镇东南35里),夏邑(现商丘市夏邑县)。
当然,无论对夏朝以及之前的历史如何理解,都不影响我们的核心观点。
2. 周朝不是灭商,而是“分商”
周朝不是灭商,而是“分商”,这应当是历史学界公认的事实,但却没有形成明确的观念,更关键的是没有认识到其伟大的历史意义是什么。我们之所以要特别强调这一点,因为它对于“中华文化是一个没有中断的文化”这一论点是极为重要的关键性支撑。
过去我们都认为“武王伐纣”是推翻商朝建立了周朝,请注意“推翻”这个词。如果不特别地说明,这会导致巨大的误解,以为从此商朝文化就消失了。一定要理解到周朝是一个非常不同的历史时期,它并不是一个统一的朝代,而是一个分封天下的真正“封建王朝”,尤其重要的是对很多商朝后裔也进行了分封,实行的是“兴灭继绝”的政策。所以从文化上说,周朝建立以后,商朝文化并不是被灭绝了,而是“被分开保存延续下来”了。
约公元前1046年,周武王在牧野之战推翻商朝帝辛,建立了周朝。如果从世界历史上看,中国之外其他地区的一般情况是,一个朝代用武力推翻另一个朝代后,会完全由自己来替代之前的朝代,甚至连生物基因、文字、宗教信仰等都替换掉。如果这样,那前面被推翻的文化一般情况下就灭绝中断了。但中国不一样,在秦朝建立之前一直采用的都是中国独有的“二王三恪”制度,这个后面会专门谈到,周朝也是继承甚至强化了这个制度。
周朝采用的是全面的分封制,只要承认周天子是老大,按时到都城去述职进贡就可以了。尤其周武王还采纳周公“以殷治殷”的建议。灭商以后,周武王封商纣王帝辛的儿子武庚于殷地(今安阳)以祀殷后,留在殷墟管理商朝遗民。同时周武王派遣其兄弟管叔、蔡叔、霍叔在殷都(安阳)附近建立邶、鄘、卫三国以监视武庚,史称“三监”。可是,周武王推翻商朝后很快就病逝了。周成王年幼继位后,周公摄政,引起本来是监视武庚的管叔、蔡叔、霍叔等人的不满。武庚乘机联合他们造反,要想恢复商朝。史称“三监之乱”“管蔡之乱”或“武庚之乱”。结果周公出兵后三年平定叛乱,武庚、管叔被杀,蔡叔被流放而死,霍叔被废为庶民。
但即使如此,周公依然遵循“二王三恪”“兴灭继绝”的传统,将没有参与三监之乱的商纣王帝辛的兄长微子启分封于商朝的旧都商丘,建立宋国,特准其用天子礼乐奉商朝宗祀,与周为客(见《史记·宋微子世家》)。三监之乱至少一半应当算成是周王朝建立初期内部的叛乱,武庚只能算有部分责任。不管怎么样,周公并没有因武庚参与这个叛乱而改变对商朝后裔的优待政策。宋国地位很特殊,被周天子尊为“三恪”之一。所以,周朝建立后,商文化并没有中断灭绝,只是“三监之乱”导致的结果是周朝给殷商后裔的封地由安阳转移到了商丘。最正宗的商文化由此以“宋国”的国号回到她最原始的起源地而得以继续保存。
学术界一般认为,西周的分封制对象主要为三类:一是周武王姬发的姬姓宗室子弟,二是周王室的功臣,三是原来商朝的王室、臣子、投降或跟随周王的原商朝部族,他们被分封到各地做诸侯,建立诸侯国。所以,并不仅仅是殷商王室的后裔微子启分封到了商朝的起源地商丘继续遵循商朝的文化,而且有多个具有商朝文化的商朝大臣,或接受了商朝文化浓重熏陶的商朝时代的部落族裔后人被分封到不同的诸侯国。这一点同样非常重要。事实上,周朝不仅是分封了商朝的王室和大臣的后裔,对更前朝的王室后裔也进行了分封。
从商朝转为周朝时采用的“兴灭继绝”方式,是兴起于商朝的中华文化传统得以完整延续的重要因素,也是在今天可以称之为中华传统文化不仅没有中断,而且为百家争鸣时期得以实现另一个伟大创造飞跃的重要因素。
3. 二王三恪制度
这种分封前朝的后裔并不是周朝独有,而是当时中国的一种延续很长时间的政治传统,就是二王三恪制度,又称二宾三恪、二代三恪、三恪二王后,或单称三恪、二王。这是一种古代的政治礼制,至少起源于尧舜禹时期甚至更早。它是新的王朝封前面朝代王室后裔爵位的制度。依二王三恪制会给予前朝王侯名号,赠予封邑,祭祀宗庙,以示尊敬,显示本朝所承继统绪,标明正统地位。所谓“恪”,即表尊敬之意。根据杜佑《通典》考证的“三恪二王后”,认为封前二代后裔为二王后,封前三代后裔则称为三恪。
这种二王三恪制,在文化上就会形成一种兴灭继绝的效果。受封的前朝后裔并不是本朝的臣子,而是受尊敬的宾客待遇。
现在学术界主流的看法是将中国最早的王朝认为是夏朝。但传说中国在夏朝之前还有一个朝代是虞朝,它是虞舜接受唐尧禅位后所建的朝代,都城在蒲阪(今山西永济)。尧的儿子丹朱被虞舜尊为虞宾,而非臣子,封地在唐(今河南南阳淅川县的丹水流域,丹水即丹江,为汉水的支流,丹江口水库就在丹江与汉江交汇处,唐也是西周时的楚国最初受封的地方)。大禹接受虞舜禅位建立夏朝之后,将虞舜之子商均封在“虞”地(就是现今河南商丘虞城县),建立虞国,承嗣“有虞氏”之号。后来春秋时期的陈国、战国时期的齐国(田齐)的历代君主以及西汉末年的新朝建兴帝王莽皆为虞舜之后裔,也就是商丘市虞城县人之后了。
商汤在鸣条之战中推翻了桀的夏朝之后,为了表示对夏朝的尊重和继承,特意赐给夏王室封地建立杞国。杞国位于今天的河南省开封市杞县(紧邻商丘市睢县),是一个小国。杞国的国君仍然保留了姒姓和夏后氏的称号,继续祭祀夏朝的宗庙。《庄子》中的成语“杞人忧天”中所说的杞人,就是指的这个杞国的人。杞国也是孔子崇尚夏礼的地方,孔子曾经去杞国考察学习夏礼。杞国虽然小弱,但却是夏朝文化和血脉的延续者。
事实上在商朝时,二王三恪制度越到后来就越是不太被遵守了,甚至会把攻占的王国或部落的首领斩尽杀绝。但周朝特别推崇分封制,不仅对商朝后裔高度敬重,甚至对更前朝的王室后裔都尽可能进行了分封。
在周朝,虞舜后裔的陈国、夏朝后裔的杞国和商朝后裔的宋国被称为三恪。宋国后来共传三十四君,享国八百二十九年。
周武王灭商后,访求前代帝王的后裔,找到了虞朝舜帝的嫡裔妫满,把自己的长女大姬嫁给他,并封之于陈之株野(今河南商丘柘城县),后迁都陈之宛丘(今河南省周口市淮阳区,紧邻商丘市柘城县),让他奉守虞舜的宗祀,是西周朝首任舜帝奉祀官。辖地大致为河南东部和安徽亳州(位于商丘以南并紧邻商丘市)。
由此可见,周朝建立后,以二王三恪制度为之前所有王朝后裔建立的封地全都集中在商丘及其周边。这里成了之前历朝历代王室后裔以及之前中华文化高度汇集之地,并且受到周王朝的高度敬重。从这里再进一步孕育出中华文明历史上最伟大的百家争鸣新文化融合和创造的活动,也就不难理解了。中国历史上的这种百家争鸣参与者至少得具备以下几个条件:
首先是得有文化的人,否则著书立说的基本前提就不具备。
二是既可以站在普通民众的角度,也可以站在统治者的王室角度考虑问题。尤其后者对一般的学者很困难。如果你指望一个人从来没在王室待过,也从来没从有相应文化传承的人那里接受相应的熏陶,要想具备甚至是要去创建管理一个国家的知识体系,这是完全不可理解的。百家争鸣产生的大量知识,既有军事、科学、修身养性,也有大量如何治理国家的知识体系。一旦我们理解了商丘及其周围聚集了前面历朝历代众多王室后裔,就明白产生这样的知识体系是太自然不过的了。
三是要有足够数量的精英群体,而不是少数几个人。只有这样才能形成百家争鸣,相互启发,才思泉涌的局面。这一切只有在商丘才具备。
四是相互之间还要有足够的区别,从而能够形成大量不同的派系和差别很大的知识体系。商丘及其周围很小的地方汇集的是不同朝代不同文化的传统,并且他们的使命就是保持各自前朝的文化传统,这使如此狭小的地方却聚集了显著不同的多种文化并长期保持,从而可以促发产生不同的知识体系。而一般情况下,区域近到一定程度,往往就相互影响同化而趋同,变得极少差异了。
4.百家争鸣——商文化的第一次大复兴
今天我们所称的中华传统文化的主体,事实上主要都来自于百家争鸣时期的伟大文化创造。对于这一点应该说是不会有任何争议的。中华文化更早的源头,如果它们对今天的中华传统文化有意义和影响,也在很大程度上是被融合进了百家争鸣时期的文化大创造之中。
之所以在春秋产生百家争鸣,一个直接触发因素是王子朝奔楚事件。
王子朝,姬姓,名朝,是周景王姬贵的庶长子。周景王的太子聪明但早逝。周景王二十年(鲁昭公二十二年,公元前520年),周景王因宠爱王子朝,想立他为太子。同年四月十八日,周景王还未立王子朝为太子,便在荣锜氏那里去世。王子姬匄的同伙与王子朝争立为王,国人拥立周景王嫡长子王子姬猛为王,王子朝攻击并杀害姬猛,国人给姬猛上谥号为悼王(周悼王)。晋国攻打王子朝而拥立姬匄,是为周敬王。
周敬王元年(公元前519年),晋国人准备护送周敬王进入周朝都城,但是此时王子朝已经自立为王,周敬王于是避居草泽中。
周敬王四年(公元前516年),晋国率领诸侯护送周敬王回到周都,王子朝于是降为臣子。姬朝被晋兵打败,带着全部典籍和一些贵族逃往楚国。
周敬王十六年(公元前504年),王子朝的党徒作乱,迫使周敬王逃奔到晋国。
周敬王十七年(公元前503年),晋定公终于护送周敬王进入周都。
周敬王十七年(公元前503年)春天,周敬王乘吴国攻破楚国的机会,派人刺杀了姬朝。《左传》记载的事件吻合,只是时间上早了两年:鲁定公五年(公元前505年)春天,周敬王派人在楚国刺杀了王子朝。
王子朝奔楚事件本身如果只作为一个宫廷政变性质,这种事情在历史上多如牛毛,一点都不新鲜。但这个事件对整个中华文化造成的影响却极为巨大,因为他是携带整个周王室之前秘不对外的皇家典藏一起逃往楚国的。问题是他们并没有最终把典藏交给楚国,而是从此下落不明。这个事件造成的后果无论是利弊两方面都大到天际。
天大的、灾难性的不利后果是:由此中华文明3500年前的第一手历史记载极可能从此湮灭。根据中国历史的惯例,这些皇家秘藏的典籍远不止是本朝历史文化的记载,而且更重要的是包含前朝历史的详尽记载。因此,王子朝不仅仅是携带了周朝历史文化记录的第一手资料,而且是携带了之前的商朝、夏朝以及更早可能存在的虞朝等朝代的历史记载第一手资料。因此,他所携带的这批典籍的遗失,事实上造成了中国历史记载非常严重的中断。
这也是造成现在商朝、夏朝,或之前更早可能存在的虞朝等没有第一手历史记载证明的关键原因,使现在史学界要准确恢复2500年之前的中华历史变得极为困难。好在商朝的历史有大量出土的商代甲骨文、以及很多年代不是太久远的史书(如西汉时期司马迁的《史记》)等作支撑。但是,要复现3600年前,即商朝之前的历史就极为麻烦了。尤其司马迁等所写的史书,对年代太久远的历史只能靠收集民间口口相传的故事,这样越是久远的历史,就越是更像神话传说性质。
另一个对当时全社会灾难性的后果是,本来东周王室就已经逐步衰落,再没有权威的皇家典籍作支撑,周王室说话从此更没人听了,从此就更加陷入越来越动荡,以至后来礼崩乐坏,中华大地逐步转入战国时代。
但此事却有两面性,在天大的灾难性后果的同时,又带来天大的有利后果是:他最终诱发了百家争鸣的出现。因为周王室没有了文化解释的权威性,民间就可以借恢复周王室典籍的名义,使大量创新的思想喷薄而出。
据猜测,王子朝奔楚带来的直接结果有可能是他的随从,尤其是作为周王室典籍管理人的老子参与,他们此后为生活所迫或其他目的,整理出版了《周易》《山海经》《道德经》(根据1973年12月在湖南马王堆汉墓出土的西汉帛书甲乙《道德经》抄本与现行版有很大区别,称《德道经》,德在前道在后,也有人称《道德真经》)等。据目前所知,《道德经》是中国第一部记载个人思想观点的著作。此书在当时一经面世,诱发了大量民间的百家争鸣的著书立说活动。
《周易》《山海经》《道德经》有一些反常的特点,成为现在的秘案。一般来说,写书的最好方式是在谈到相关事实时,提供资料来源的引用出处。或者指明是自己亲自获得的资料。要么是不写资料来源,直接讲事实。但这三个典籍不仅不提供资料来源,而且是极力地以高度变形的方式去讲事实,显得是要刻意地避免让读者知道他们看过原始版本的事实,甚至隐蔽书的作者。这是导致至今难以查明《周易》《山海经》作者是谁的可能原因。因此有人猜测,这些典籍是王子朝及他的随从,甚至一起参与的老子在后来隐藏起来阅读整理相应典籍后所写的。
目前中国先秦史学会为代表的学术界有较明显倾向认为王子朝可能是在南阳最后安葬,并且有可能他携带的典籍随之安葬在了南阳。为此还在南阳成立了两个研究基地:一个是“中国先秦史学会王子朝奔楚暨南阳先秦文化研究会”,另一个是“中国先秦史学会王子朝奔楚暨南阳先秦古遗址保护研究基地”。尤其这后一个研究基地,明显已经有一定判断王子朝奔楚事件最后的终结地是在南阳。甚至已经初步定位到南阳市鸭河工区(也称南都新区)一带。只是在没有把王子朝带走的周王室典籍挖出来之前,还不好作最后的定论。就差哪天盖大楼挖地基的时候,蓝翔的学生一不小心就挖出一堆竹简,曝出一个惊天大喜了。

我曾把商丘是中华文化之母的观点与一些历史学家讨论,他们刚开始对我的观点有些诧异甚至不屑。如果没有这个观点,历史学家们过去可能也没太注意诸子百家的核心人物出生地在哪里的问题。或者,即使他们本来都知道,原来也没想到过其中会有什么特别的意义。但当他们自己去重新核实诸子百家创始人的起源时都惊讶不已地发现:天呐,怎么会有那么多商丘人?不是直接的商丘人,不远的祖上也是商丘人,或者在离商丘很近的地方 —— 可以说,百家争鸣这一次深刻影响到今天的中华文化的伟大创造,基本都是发生在商丘或距离商丘200公里以内的地方。这是宋国保存商文化之后的第一次伟大的商文化复兴和文明再创造。所以,百家争鸣从另一个角度看,可以称为是中华文明升华的第一次“商丘论坛”。
我第一次意识到这个问题是在商丘博物馆看总体介绍视频时,提到百家争鸣的核心地点都在距离商丘不到200公里的地方。这让我非常诧异,但当我进一步确认的时候更加诧异的是:商丘博物馆也太低调了,不是距离商丘不到200公里,而是基本上源头都可以算是出自商丘好不好。

2024年4月25日作者汪涛参观商丘博物馆
如果人们认为商文化的复兴只有这一次,那还不足以让人惊讶到头晕目眩的程度。
5.今天的中华文化,是在商文化一次又一次复兴过程中形成的
周朝建立后,除了宋国,秦国、赵国、楚国,他们也都可以说是商朝文化的不同传承者。
秦国统一六国,可以说是商文化在百家争鸣大创造之后的第二次伟大的复兴。秦始皇是完成了商纣王未竟的一统华夏的伟大事业。
汉朝刘邦斩白蛇起义之地的芒砀山,就位于商丘,陈胜的墓也在芒砀山。
李唐王室的李家有一部分传说是殷商后人——道家创始人李耳的后人。李耳是殷商后裔。
宋朝是商文化的又一次复兴。
以下我们一一解读这看起来非常不可思议的历史,却是大量铁证所指向的历史事实。
6. 起源、传承与集大成
在谈具体的商文化传承与复兴之前,我们先来说一下起源、传承与集大成之间的关系和不同的价值。本系列文章(一)发表后,很多网友提出了很好的建议,也提出了一些疑问。中华文化的起源显然是丰富多彩的,用著名考古学家苏秉琦描述中华文化起源地的观点就是“满天星斗说”。考古的发现首先是静态的,在某一个考古遗迹发现某些考古证据,一般是将其归为该地的文化遗迹。除非是诸如发现古代运输过程中沉没的船只等,虽然也会代表当地发生的某个历史事件,但其沉船上的货物会第一时间想到它们是属于其他哪个货源地生产的。一般情况下没人会认为这些货物是在沉船的地方生产的。
但毫无疑问,历史发展无论在时间还是空间上都是动态的。这种动态的第一个问题是文化的传承,首先是文化在当地时间上的传承,其次是通过人员的迁徙和不同地区人员之间的相互学习等等,实现文化在异地的传承。例如,仰韶文化已经发现了5000多个遗迹(据河南省文物考古研究院研究员、副院长魏兴涛老师提供的数据,截至2000年全国发现的仰韶遗址共有5013处),其呈现出从较早的中心向四周扩散的形态。这种扩散有可能是直接通过人员的迁徙直接将相应文化转移过去,也可能是其他地区人员通过学习承接的转移。这种过程在今天也同样是司空见惯的。
如果只是起源和传承的话,很可能会呈现文化的差异化和越来越多的分支。不同文化起源地之间,往往本身就很可能有差异。即使相同文化在传承过程中,也很可能出现变异或创新。
如果只是这些起源和传承过程的话,就不会出现今天这样有一个基本统一性的“中华文化”。中华文化是一个不断集大成的过程,就是不同地区的不同文化进行融合、创新,整合为一个统一的文化。中华文化最大的特征,就是她在自己发展过程中不断进行集大成的创新。而在这个过程中,商丘曾在非常长的时期内起到至关重要的核心作用,当然不能说是全部。所以,本系列文章讨论的主要是这种对形成统一的中华文化的集大成作用和机制。这当然不会去否认中华文化“满天星斗”的丰富起源,只是我们要去关注一个在过去被忽视和未被讨论清楚的,对中华文化最关键的一个环节。
(未完待续)
赞
赞




